PI 12 I
Pylons traffic restriction PI 12 I
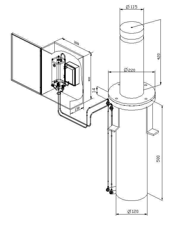
Description
Automatic Control Mechanism for Access and Traffic Restriction.
Stainless steel. Smaller dimensions but with great performance. Designed for more generalized areas.
Minimum embedding depth.
The smallest on the market in terms of its stroke (420mm).
External cabinet and concealable bollard. Motor pump and control panel in external cabinet (easy maintenance).
Hydraulic connection with retractable bollard through flexible rubber tubes with different diameter metal mesh reinforcement (reduces assembly work.) Control panel suitable for the adaptation of accessories and any type of actuation (receiver card, remote control, push buttons, etc.), security systems (photocells, magnetic detector…), signaling systems (flashing light, traffic light…) on request.
Stainless steel exterior with non-slip surface (for pedestrian access safety).
Possibility of cast model in matte black finish, if architectural environment requires.
No electrical components in the bollard. (Avoids breakdowns due to water or moisture)
Manual unlocking from the external cabinet (for emergencies).
UPS available to perform this automatic action. NOT INCLUDED.

| PI 12 I | |
| Diameter | 120 mm |
| Stroke | 420 mm |
| Adjustable Force | 0 to 560 Kg |
| Rise Time | 17 Sec. |
| Descent Time | 15 Sec. |
| Power Supply Voltage | 230V, 50Hz / 120V, 60Hz |
| Consumption | 1.1 A |
| Protection Degree | IP 55 |
| Flow Rate | 2.5 L/m |
Automatic control mechanism for access and restriction of vehicle traffic.
Stainless steel. Smaller dimensions but great performance. Designed for more widespread areas.
Minimum embedding depth.
The smallest on the market in terms of its stroke (420mm).
RECOMMENDED KITS
STANDARD KIT:
‐ STANDARD KIT: 1 PI 12 I + 2 ltrs. MAP OIL + 1 CRF MINI + 1 TR255 MINI + 1 TE 3 + MDAE
ACCESSORIES:
MDA‐E, MAP OIL, TRAFFIC LIGHT SEM 1‐2, FLASHING LAMP LO1E 220, REMOTE CONTROLS TE3, TE4, GO2.



